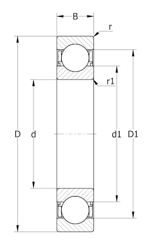
Single Row Deep Groove Ball Bearings / Inch Series Product Table
| Internal Design | |
| A | modified design |
| E | optimized design |
| External Design | |
| K | tapered bore, taper 1:12 |
| N | snap ring groove on the outer ring |
| NR | snap ring groove on the outer ring, with snap ring |
| RS | seal on one side |
| 2RS | seals on both sides |
| Z | shield on one side |
| ZZ | shields on both sides |
| Cage | |
| M | machined brass cage |
| MA | machined brass cage, outer ring riding |
| MB | machined brass cage, inner ring riding |
| Accuracy and Clearance | |
| P5 | dimensional and running accuracy at P5 precision class |
| P6 | dimensional and running accuracy at P6 precision class |
| C1 | internal radial clearance less than C2 |
| C2 | internal radial clearance less than normal |
| C3 | internal radial clearance larger than normal |
(in) |
(N) |
(rpm) |
(kg) |
(in) |
||||||||
(min.) |
(dynamic) |
(static) |
||||||||||
| 12.700 | 33.338 | 9.525 | 0.8 | RLS 4 | 7.0 | 3.0 | 21000 | 28500 | 0.04 | ||
| 12.700 | 41.275 | 15.875 | 1.6 | RMS 4 | 12.1 | 5.6 | 18500 | 25000 | 0.10 | ||
| 15.875 | 39.688 | 11.113 | 0.8 | RLS 5 | 10.9 | 5.0 | 18000 | 24000 | 0.06 | ||
| 15.875 | 46.038 | 15.875 | 1.6 | RMS 5 | 12.6 | 5.6 | 16500 | 22000 | 0.12 | ||
| 19.050 | 47.625 | 14.288 | 1.6 | RLS 6 | 14.2 | 6.6 | 15500 | 21000 | 0.11 | ||
| 19.050 | 50.800 | 17.463 | 1.6 | RMS 6 | 16.5 | 7.8 | 14700 | 20000 | 0.16 | ||
| 22.225 | 50.800 | 14.288 | 1.6 | RLS 7 | 15.1 | 7.9 | 14300 | 19500 | 0.12 | ||
| 22.225 | 57.150 | 17.463 | 1.6 | RMS 7 | 19.2 | 9.2 | 13300 | 18000 | 0.20 | ||
| 25.400 | 57.150 | 15.875 | 1.6 | RLS 8 | 18.6 | 8.9 | 12700 | 17000 | 0.17 | ||
| 25.400 | 63.500 | 19.050 | 2.4 | RMS 8 | 22.1 | 10.6 | 12200 | 16500 | 0.26 | ||
| 28.575 | 63.500 | 15.875 | 1.6 | RLS 9 | 20.2 | 10.0 | 11700 | 15000 | 0.22 | ||
| 28.575 | 71.438 | 20.638 | 2.4 | RMS 9 | 30.8 | 15.8 | 10800 | 14500 | 0.35 | ||
| 31.750 | 69.850 | 17.463 | 1.6 | RLS 10 | 27.7 | 13.9 | 10600 | 14400 | 0.28 | ||
| 31.750 | 79.375 | 22.225 | 2.4 | RMS 10 | 37.7 | 19.5 | 9800 | 13200 | 0.48 | ||
| 34.925 | 65.088 | 14.288 | 1.6 | XLJ 1.3/8 | 16.6 | 8.5 | 11200 | 15000 | 0.19 | ||
| 34.925 | 76.200 | 17.463 | 1.6 | RLS 11 | 30.2 | 15.7 | 9800 | 13200 | 0.33 | ||
| 34.925 | 88.900 | 22.225 | 2.4 | RMS 11 | 45.3 | 23.9 | 8800 | 11900 | 0.61 | ||
| 38.100 | 68.262 | 14.288 | 1.6 | XLJ 1.1/2 | 16.8 | 11.5 | 10200 | 13800 | 0.20 | ||
| 38.100 | 82.550 | 19.050 | 2.4 | RLS 12 | 34.8 | 17.8 | 9000 | 12200 | 0.42 | ||
| 38.100 | 95.250 | 23.813 | 2.4 | RMS 12 | 49.5 | 26.2 | 7700 | 10300 | 0.86 | ||
| 41.275 | 73.025 | 14.288 | 1.6 | XLJ 1.5/8 | 20.0 | 13.8 | 4700 | 9400 | 0.28 | ||
| 41.275 | 88.900 | 19.050 | 2.4 | RLS 13 | 38.7 | 20.0 | 7800 | 10600 | 0.59 | ||
| 41.275 | 101.600 | 23.813 | 2.4 | RMS 13 | 55.0 | 29.9 | 7100 | 9600 | 1.06 | ||
| 44.450 | 76.200 | 14.288 | 1.6 | XLJ 1.3/4 | 20.9 | 15.2 | 9100 | 12300 | 0.24 | ||
| 44.450 | 95.250 | 20.638 | 2.4 | RLS 14 | 42.7 | 22.3 | 7800 | 10600 | 0.59 | ||
| 44.450 | 107.950 | 26.988 | 2.4 | RMS 14 | 59.5 | 32.7 | 7100 | 9600 | 1.06 | ||
| 47.625 | 76.200 | 19.050 | 1.6 | XLS 1.7/8 SP | 18.3 | 13.8 | 8300 | 11200 | 0.29 | ||
| 47.625 | 80.963 | 15.875 | 1.6 | XLJ 1.7/8 | 22.7 | 13.1 | 8300 | 11200 | 0.30 | ||
| 47.625 | 101.600 | 20.638 | 2.4 | RLS 15 | 50.5 | 27.8 | 7200 | 9800 | 0.71 | ||
| 47.625 | 114.300 | 26.988 | 2.4 | RMS 15 | 69.0 | 38.7 | 6600 | 8900 | 1.22 | ||
| 50.800 | 84.138 | 15.875 | 1.6 | XLJ 2 | 24.4 | 18.2 | 8300 | 11200 | 0.32 | ||
| 50.800 | 101.600 | 20.638 | 2.4 | RLS 16 | 50.5 | 27.8 | 7200 | 9800 | 0.67 | ||
| 50.800 | 114.300 | 26.988 | 2.4 | RMS 16 | 69.0 | 38.7 | 6600 | 8900 | 1.17 | ||
| 57.150 | 90.488 | 15.875 | 1.6 | XLJ 2.1/4 | 29.4 | 17.0 | 7600 | 10300 | 0.34 | ||
| 57.150 | 114.300 | 22.225 | 2.4 | RLS 18 | 60.0 | 32.7 | 6400 | 8600 | 0.89 | ||
| 57.150 | 127.000 | 31.750 | 3.2 | RMS 18 | 85.0 | 48.5 | 5900 | 8000 | 1.60 | ||
| 57.302 | 100.000 | 27.432 | 0.8 | XLS 2.256 SP | 43.4 | 29.4 | 0.75 | ||||
| 60.325 | 95.250 | 17.463 | 1.6 | XLJ 2.3/8 | 29.6 | 18.5 | 7000 | 9500 | 0.41 | ||
| 63.500 | 98.425 | 17.463 | 1.6 | XLJ 2.1/2 | 31.8 | 19.6 | 6700 | 9000 | 0.42 | ||
| 63.500 | 127.000 | 23.813 | 2.4 | RLS 20 | 65.5 | 36.8 | 5700 | 7700 | 1.22 | ||
| 63.500 | 139.700 | 31.750 | 3.2 | RMS 20 | 96.5 | 55.5 | 5300 | 7100 | 2.04 | ||
| 66.675 | 104.775 | 17.463 | XLJ 2 5/8 | 23.6 | 21.2 | 0.58 | |||||
| 69.850 | 104.775 | 17.463 | 1.6 | XLJ 2 3/4 | 33.5 | 27.0 | 3100 | 6300 | 0.54 | ||
| 69.850 | 133.350 | 23.813 | 2.4 | RLS 22 / LS 18 | 67.4 | 48.0 | 5300 | 7200 | 1.33 | ||
| 69.850 | 158.750 | 34.925 | 3.2 | RMS 22 | 118.0 | 71.5 | 4600 | 6200 | 2.89 | ||
| 76.200 | 114.300 | 19.050 | 2.4 | XLJ 3 | 41.1 | 26.1 | 5800 | 7800 | 0.75 | ||
| 76.200 | 146.050 | 26.988 | 2.4 | RLS 24 | 81.5 | 48.3 | 4800 | 6500 | 1.81 | ||
| 76.200 | 177.800 | 39.688 | 4 | RMS 24 | 138.0 | 89.5 | 4000 | 5400 | 4.25 | ||
| 76.352 | 130.000 | 33.274 | 0.8 | XLS 3.006 SP | 66.1 | 49.3 | 1.60 | ||||
| 82.550 | 120.650 | 19.050 | 2.4 | XLJ 3.1/4 | 33.1 | 31.4 | 2700 | 5400 | 0.81 | ||
| 82.550 | 152.400 | 26.988 | 2.4 | RLS 26 | 87.5 | 52.5 | 4500 | 6100 | 1.87 | ||
| 82.550 | 190.500 | 39.688 | 4 | RMS 26 | 139.0 | 89.5 | 3800 | 5100 | 4.99 | ||
| 85.725 | 190.500 | 39.688 | 4 | RMS 27 | 139.0 | 89.5 | 3800 | 5100 | 4.95 | ||
| 88.900 | 127.000 | 19.050 | 2.4 | XLJ 3.1/2 | 34.3 | 33.1 | 5000 | 6800 | 0.79 | ||
| 88.900 | 165.100 | 28.575 | 3.2 | RLS 28 | 100.0 | 60.5 | 4200 | 5600 | 2.33 | ||
| 88.900 | 206.375 | 44.450 | 4 | RMS 28 | 169.0 | 120.0 | 3400 | 4600 | 6.53 | ||
| 95.250 | 133.350 | 19.050 | 2.4 | XLJ 3.3/4 | 40.6 | 28.8 | 4700 | 6400 | 0.84 | ||
| 95.250 | 171.450 | 28.575 | 3.2 | RLS 30 | 108.7 | 81.6 | 3900 | 5300 | 2.47 | ||
| 95.250 | 209.550 | 44.450 | 4 | RMS 30 | 169.0 | 120.0 | 3400 | 4600 | 6.53 | ||
| 101.600 | 142.875 | 22.225 | 2.4 | XLJ 4 | 39.7 | 40.7 | 2200 | 4400 | 1.15 | ||
| 101.600 | 184.150 | 31.750 | 3.2 | RLS 32 | 120.0 | 74.5 | 3800 | 5100 | 3.18 | ||
| 101.600 | 215.900 | 44.450 | 4 | RMS 32 | 173.1 | 140.8 | 3200 | 4400 | 6.71 | ||
| 107.950 | 152.400 | 22.225 | 2.4 | XLJ 4.1/4 | 51.6 | 50.7 | 4100 | 5500 | 1.13 | ||
| 107.950 | 190.500 | 31.750 | 3.2 | RLS 34 | 127.0 | 81.5 | 3500 | 4700 | 3.86 | ||
| 107.950 | 222.250 | 44.450 | 4.8 | RMS 34 | 171.0 | 120.0 | 3100 | 4200 | 8.16 | ||
| 114.300 | 158.750 | 22.225 | 2.4 | XLJ 4.1/2 | 55.5 | 40.2 | 3900 | 5200 | 1.14 | ||
| 114.300 | 203.200 | 33.338 | 3.2 | RLS 36 | 147.0 | 98.5 | 3300 | 4400 | 4.67 | ||
| 114.300 | 238.125 | 50.800 | RMS 36 | 204.5 | 177.0 | 2800 | 3800 | 10.70 | |||
| 120.650 | 165.100 | 22.225 | 2.4 | XLJ 4.3/4 | 54.4 | 57.0 | 3700 | 5000 | 1.21 | ||
| 120.650 | 209.550 | 33.338 | 3.2 | RLS 38 | 134.0 | 87.0 | 3100 | 4200 | 4.90 | ||
| 120.650 | 254.000 | 50.800 | 4.8 | RMS 38 | 209.0 | 182.9 | 2600 | 3500 | 13.20 | ||
| 123.825 | 177.800 | 25.400 | 2.4 | XLJ 4.7/8 | 60.0 | 45.5 | |||||
| 127.000 | 177.800 | 25.400 | 2.4 | XLJ 5 | 61.6 | 63.6 | 3400 | 4600 | 1.68 | ||
| 127.000 | 228.600 | 34.925 | 3.2 | RLS 40 | 154.0 | 107.0 | 2700 | 3700 | 6.35 | ||
| 127.000 | 254.000 | 50.800 | 4.8 | RMS 40 | 209.0 | 160.0 | 2600 | 3500 | 12.20 | ||
| 133.350 | 184.150 | 25.400 | 2.4 | XLJ 5.1/4 | 51.0 | 39.6 | 1600 | 3200 | 2.10 | ||
| 139.700 | 190.500 | 25.400 | 2.4 | XLJ 5.1/2 | 68.8 | 75.0 | 1500 | 3100 | 2.20 | ||
| 139.700 | 241.300 | 34.925 | 3.2 | RLS 44 | 153.0 | 107.0 | 2500 | 3400 | 6.85 | ||
| 139.700 | 279.400 | 50.800 | 4.8 | RMS 44 | 221.0 | 174.0 | 2300 | 3100 | 14.90 | ||
| 146.050 | 196.850 | 25.400 | 2.4 | XLJ 5.3/4 | 72.9 | 79.0 | 1500 | 3000 | 2.29 | ||
| 152.400 | 203.200 | 25.400 | 2.4 | XLJ 6 | 69.1 | 77.8 | 1400 | 2800 | 2.37 | ||
| 152.400 | 266.700 | 39.688 | 4 | RLS 48 | 180.0 | 134.0 | 2300 | 3100 | 9.48 | ||
| 152.400 | 304.800 | 57.150 | 4.8 | RMS 48 | 259.0 | 218.0 | 2100 | 2800 | 19.50 | ||
| 165.100 | 222.250 | 28.575 | 3.2 | XLJ 6.1/2 | 82.3 | 91.7 | 1300 | 2600 | 3.13 | ||
| 165.100 | 279.400 | 39.688 | 4 | RLS 52 | 188.0 | 145.0 | 2100 | 2900 | 10.20 | ||
| 165.100 | 330.200 | 63.500 | 4.8 | RMS 52 | 286.0 | 251.0 | 1900 | 2500 | 26.50 | ||
| 171.450 | 228.600 | 28.575 | 3.2 | XLJ 6.3/4 | 93.8 | 104.5 | 3.21 | ||||
| 177.800 | 241.300 | 31.750 | 3.2 | XLJ 7 | 105.0 | 117.0 | 1200 | 2300 | 4.23 | ||
| 177.800 | 304.800 | 44.450 | 4 | RLS 56 | 221.0 | 180.0 | 1900 | 2600 | 14.10 | ||
| 177.800 | 342.900 | 63.500 | 4.8 | RMS 56 | 306.0 | 278.0 | 1700 | 2400 | 27.50 | ||
| 184.150 | 247.650 | 31.750 | 3.2 | XLJ 7.1/4 | 79.5 | 67.0 | 4.58 | ||||
| 190.500 | 254.000 | 31.750 | 3.2 | XLJ 7.1/2 | 131.6 | 145.8 | 1800 | 2400 | 4.50 | ||
| 190.500 | 317.500 | 44.450 | 4 | RLS 60 | 231.0 | 195.0 | 1800 | 2400 | 14.50 | ||
| 190.500 | 368.300 | 69.850 | 4.8 | RMS 60 | 340.0 | 322.0 | 1600 | 2200 | 35.40 | ||
| 196.850 | 266.700 | 34.925 | 3.2 | XLJ 7.3/4 | 131.6 | 145.8 | |||||
| 203.200 | 273.050 | 34.925 | 3.2 | XLJ 8 | 94.5 | 82.5 | 1000 | 2000 | 5.81 | ||
| 203.200 | 330.200 | 44.450 | 4 | RLS 64 | 230.0 | 195.0 | 1700 | 2300 | 15.90 | ||
| 203.200 | 381.000 | 69.850 | 4.8 | RMS 64 | 366.0 | 358.0 | 1500 | 2000 | 36.50 | ||
| 215.900 | 292.100 | 38.100 | 3.2 | XLJ 8.1/2 | 108.0 | 95.5 | 900 | 1800 | 7.44 | ||
| 215.900 | 355.600 | 50.800 | 4.8 | RLS 68 | 263.0 | 232.0 | 1500 | 2100 | 21.10 | ||
| 215.900 | 406.400 | 76.200 | 4.8 | RMS 68 | 396.0 | 401.0 | 1400 | 1800 | 47.20 | ||
| 228.600 | 304.800 | 38.100 | 3.2 | XLJ 9 | 156.4 | 187.1 | 850 | 1700 | 7.85 | ||
| 228.600 | 368.300 | 50.800 | 4.8 | RLS 72 | 275.0 | 251.0 | 1500 | 2000 | 22.00 | ||
| 228.600 | 431.800 | 76.200 | 4.8 | RMS 72 | 415.0 | 445.0 | 1200 | 1600 | 53.10 | ||
| 241.300 | 323.850 | 41.275 | 4 | XLJ 9.1/2 | 169.8 | 202.2 | 800 | 1600 | 9.53 | ||
| 241.300 | 384.175 | 50.800 | 4.8 | RLS 76 | 287.0 | 271.0 | 1400 | 1800 | 22.70 | ||
| 254.000 | 336.550 | 41.275 | 4 | XLJ 10 | 175.7 | 212.9 | 750 | 1500 | 9.89 | ||
| 254.000 | 400.050 | 50.800 | 4.8 | RLS 80 | 285.0 | 271.0 | 1300 | 1700 | 25.50 | ||
| 254.000 | 469.900 | 82.550 | 4.8 | RMS 80 | 455.0 | 490.0 | 1100 | 1500 | 66.70 | ||
| 266.700 | 355.600 | 44.450 | 4 | XLJ 10.1/2 | 145.0 | 133.0 | 700 | 1400 | 12.50 | ||
| 266.700 | 422.275 | 57.150 | 4.8 | RLS 84 | 338.0 | 339.0 | 1200 | 1600 | 32.50 | ||
| 279.400 | 368.300 | 44.450 | 4 | XLJ 11 | 148.0 | 139.0 | 650 | 1300 | 13.30 | ||
| 279.400 | 444.500 | 57.150 | 4.8 | RLS 88 | 335.0 | 339.0 | 1100 | 1500 | 36.10 | ||
| 279.400 | 508.000 | 88.900 | 4.8 | RMS 88 | 540.0 | 623.0 | 1000 | 1400 | 82.50 | ||
| 292.100 | 387.350 | 47.625 | 4 | XLJ 11.1/2 | 169.0 | 160.0 | 600 | 1200 | 15.90 | ||
| 292.100 | 457.200 | 60.325 | 4.8 | RLS 92 | 371.0 | 390.0 | 1100 | 1400 | 38.50 | ||
| 304.800 | 406.400 | 50.800 | 4.8 | XLJ 12 | 217.3 | 296.5 | 550 | 1100 | 18.60 | ||
| 304.800 | 469.900 | 66.675 | 4.8 | RLS 96 | 388.0 | 412.0 | 1000 | 1400 | 44.50 | ||
| 304.800 | 546.100 | 95.250 | 4.8 | RMS 96 | 557.0 | 654.0 | 900 | 1200 | 99.80 | ||
| 317.500 | 419.100 | 50.800 | 4.8 | XLJ 12.1/2 | 225.0 | 312.0 | 550 | 1100 | 19.40 | ||
| 317.500 | 482.600 | 66.675 | 4.8 | RLS 100 | 405.0 | 444.0 | 950 | 1300 | 43.70 | ||
| 330.200 | 444.500 | 57.150 | 4.8 | XLJ 13 | 218.0 | 221.0 | 500 | 1000 | 26.50 | ||
| 330.200 | 508.000 | 69.850 | 4.8 | RLS 104 | 420.0 | 466.0 | 900 | 1200 | 51.70 | ||
| 342.900 | 457.200 | 57.150 | 4.8 | XLJ 13.1/2 | 235.0 | 240.0 | 850 | 1200 | 27.38 | ||
| 342.900 | 527.050 | 69.850 | 4.8 | RLS 108 | 438.0 | 494.0 | 850 | 1200 | 56.10 | ||
| 355.600 | 469.900 | 57.150 | 4.8 | XLJ 14 | 255.0 | 245.0 | 900 | 1800 | 31.00 | ||
| 355.600 | 546.100 | 73.025 | 4.8 | RLS 112 | 455.0 | 525.0 | 800 | 1100 | 61.60 | ||
| 368.300 | 495.300 | 63.500 | 4.8 | XLJ 14.1/2 | 299.0 | 328.0 | 440 | 850 | 34.80 | ||
| 368.300 | 558.800 | 76.200 | 4.8 | RLS 116 | 476.0 | 562.0 | 800 | 1100 | 67.20 | ||
| 381.000 | 508.000 | 63.500 | 4.8 | XLJ 15 | 297.0 | 328.0 | 850 | 1100 | 34.40 | ||
| 381.000 | 571.500 | 76.200 | 4.8 | RLS 120 | 474.0 | 562.0 | 750 | 1000 | 67.80 | ||
| 406.400 | 546.100 | 69.850 | 4.8 | XLJ 16 | 358.6 | 586.8 | 750 | 1000 | 45.80 | ||
| 406.400 | 603.250 | 82.550 | 4.8 | RLS 128 | 511.0 | 627.0 | 700 | 950 | 80.10 | ||
| 419.100 | 558.800 | 69.850 | 4.8 | XLJ 16.1/2 | 371.7 | 619.4 | 750 | 1000 | 47.00 | ||
| 431.800 | 571.800 | 69.850 | 4.8 | XLJ 17 | 329.0 | 393.0 | 700 | 950 | 47.30 | ||
| 457.200 | 609.600 | 76.200 | 4.8 | XLJ 18 | 360.0 | 435.0 | 700 | 900 | 61.60 | ||
| 482.600 | 647.700 | 82.550 | 4.8 | XLJ 19 | 410.0 | 521.0 | 600 | 800 | 73.70 |
